龙虎榜丨华东重机今日跌停 知名游资方新侠净卖出1255.74万元

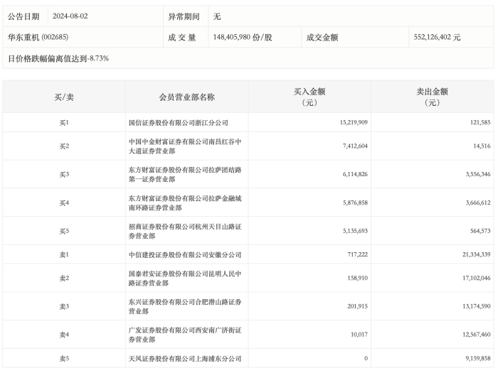
8月2日,华东重机今日跌停,龙虎榜数据显示,上榜营业部席位全天成交1.22亿元,占当日总成交金额比例为22.12%。其中,买入金额为4084.8万元,卖出金额为8126.19万元,合计净卖出4041.4万元。
具体来看,知名游资现身龙虎榜,方新侠净卖出1255.74万元。此外,中信建投证券安徽分公司、国泰君安证券昆明人民中路证券营业部分别卖出2133.43万元、1710.20万元;国信证券浙江分公司、中国中金财富证券有限公司南昌红谷中大道证券营业部分别买入1521.99万元、741.26万元。

标签: 跌停
特斯拉汽车行业趋势图的未来展望,展望5G、自动驾驶和可持续能源的发展,特斯拉汽车行业发展趋势,预测5G、自动驾驶和可持续能源的未来发展
下一篇智能健康行业的发展趋势与前景,智能健康行业发展趋势与前景分析
相关文章
-
000851,连续16个一字跌停,跌破1元/股!业绩超预期+社保基金重仓股出炉,市盈率最低不到6倍详细阅读
在业绩超预期的带动下,不少股票的二级市场表现突出。*ST高鸿股价跌破1元/股9月的首个交易日,A股市场延续上涨态势,上证指数收盘涨0.46%,创业板指...
2025-09-02 55 跌停
-
300069,突发利空,20cm跌停!华为将发布AI应用新成果,杠杆资金潜伏多只滞涨概念股详细阅读
炒股就看金麒麟分析师研报,权威,专业,及时,全面,助您挖掘潜力主题机会! AI正逐渐进入下半场的应用爆发阶段。 8月11日,A股大盘指数继...
2025-08-11 49 跌停
- 详细阅读
-
天茂集团双报“难产”,股价两跌停!鸡缸杯大佬刘益谦保险板块布局受详细阅读
来源:@华夏时报微博 毫无征兆之下,被归为A股保险板块之一的天茂集团(000627.SZ)在五一假期临近之前,连续出现跌停,引发资本市场关注。 4月...
2025-04-30 77 跌停
- 详细阅读
-
三创业板股ST后“20CM”一字跌停 业绩披露密集期需规避相关风险详细阅读
登录新浪财经APP 搜索【信披】查看更多考评等级 本报讯(记者 刘扬) 3月25日,被实施其他风险警示复牌的创业板股票ST香雪(维权)、ST联创(维权...
2025-03-26 91 跌停
